LJQ鐘罩式燃 氣 表 檢 定 裝 置使 用 說 明 書
天津市新聯儀表設備有限公司
022-86872235 86872236 13001379761
一、 概述
特別提示: 鐘罩式燃氣表檢定裝置,是國家燃氣表檢定規程 JJG-577 - 2012 第一薦的燃氣表檢定設備,并明確規定:仲裁檢定應采用鐘罩式檢定裝置。
本裝置由鐘罩式氣體流量標準裝置(以下簡稱鐘罩)、燃氣表檢定臺和鐘罩智能控制儀組成。
鐘罩是能夠在規定的范圍內設定工作壓力,且在恒定壓力的條件下,定量輸出標準氣體流量的計量裝置。
燃氣表檢定臺用于夾持固定燃氣表,并提供燃氣表檢定的氣路通道。其上配有瞬時流量設定器和壓力損失檢測單元。
鐘罩智能控制儀能夠通過檢測旋轉光電編碼器的脈沖信號,控制鐘罩的進氣和排氣閥,按照國家檢定規程的規定,完成定壓、定量標準排氣,實現對燃氣表示值誤差和壓力損失的自動檢測。
二 主要技術參數
鐘罩式氣體流量標準裝置
1 精 確 度 0.5級 (0.2級) 裝置整體重復性 0.1%
2標稱容積 100 L ( 20 L )
3量筒壓力 1.5 – 3.0 kPa
4壓力波動 ≦ 50 Pa
燃氣表檢定臺
1氣動夾表臺可四臺位、六臺位或八臺位同時檢定
2 壓力損失檢測 0 – 500 Pa
3 鐘罩、表前壓力檢測 0 – 2 kPa 可選項
4 環境壓力(絕壓) 0 - 110 kPa 可選項
5 溫度檢測 0 – 50 ℃ 可選項
智能自動控制儀
1控制精度 0.05 %
2顯示排氣量分辨率 0.01 L
2排氣量設定:可預設五個不同的排氣量,一鍵調用。
4工作環境:相對濕度 85% 溫度 0 - 55℃ (通常實驗室20±2℃)
三 原理和結構
(一)鐘罩式氣體流量標準裝置
鐘罩是以量筒的固有容積作為標準體積, 液槽內充白油作為密封液,使量筒內部空間與外界隔離。當鐘罩量筒下降時。排出鐘罩量筒內氣體,經過測試管路流經被檢儀表, 比較鐘罩量筒排出標準氣體體積與被檢儀表指示的體積,確定儀表的精度。
鐘罩量筒內的氣體壓力是由鐘罩量筒重量和配重砣決定的,通過改變配重可以調整鐘罩的工作壓力, 鐘罩還設計了補償機構,使鐘罩量筒內的壓力不隨浸入密封液深度而變化,保證了鐘罩內工作壓力的恒定。
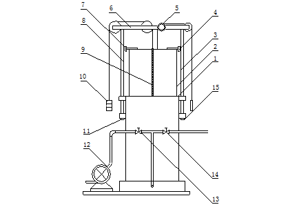
結構如下
1、液槽 2、量筒 3、8導柱 4、7 導向板 5、光電旋轉編碼器
6、橫梁 9、標尺 10、配重砣 11、15導柱調節螺塞 12、充氣風機
13、進氣閥 14、排氣閥
打開風機和進氣閥,由于風機的輸出風壓高于量筒內壓,因此空氣被壓入量筒內腔,使量筒升高,直到上限位置。
經過一段延時時間,待量筒和液槽內液面穩定之后,便可打開排氣閥,向被校驗燃氣表排氣。量筒的內截面積是已知且固定不變的,所以只需確定量筒的降落高度,即可精確的得到實際排出氣體的容積量。
鐘罩量筒的位置和降落高度,是由旋轉光電編碼器檢測的:旋轉編碼器上的導輪設計周長100 mm,通過絲帶與鐘罩量筒連接耦合,旋轉編碼器旋轉一周,輸出1000個脈沖,每個脈沖表示鐘罩量筒位移0.1 mm,假定鐘罩輸出額定排氣量時,量筒正好下降1000 mm ,則排氣量分辨率達到0.01%
隨著排氣過程中量筒不斷下降,浸入密封液的部分增加,使量筒受到浮力漸增,為使量筒內壓穩定,鐘罩采用了鏈條動態配重補償的方法,確保在整個排氣過程中鐘罩量筒內的壓力保持不變。采用動態配重補償,革除了傳統的象限補償裝置,簡化了結構、減少了占用空間。
(二)智能鐘罩控制儀
智能鐘罩控制儀能夠自動采集量筒氣體壓力、溫度和燃氣表壓力損失等模擬參數以及代表鐘罩量筒位置的旋轉光電編碼器的脈沖信號,自動控制鐘罩量筒的進氣、排氣,能夠按照檢定規程的規定,根據所檢定的燃氣表的不同規格,完成定量的標準排氣,實現了燃氣表檢定過程的自動化。
智能鐘罩控制儀的多路模擬通道,接收并顯示溫度、壓力、壓損等模擬參量。
智能鐘罩控制儀的控制輸出單元可以提供,24V DC 直流功率輸出和220V AC交流功率輸出,用于驅動電磁閥、風機等控制部件實現鐘罩量筒的進氣、排氣。
(三)燃氣表檢定臺
燃氣表檢定臺采用氣動夾表,實現4 – 6 - 8多臺表同時檢定。
燃氣表檢定臺下部設有多個氣缸和托板,由氣動閥控制分別托起并夾固的燃氣表,三根支撐立柱的高度可調,適應不同規格的燃氣表檢定。
燃氣表檢定臺的上部矩形管制作的橫梁,既是表臺的夾固部件;更重要作用還是燃氣表的檢定氣體通道,這種不銹鋼管的集成化設計,革除了多臺燃氣表之間連接的塑料軟管,大大減少了檢定氣體的泄漏環節。同時又提供了燃氣表壓力損失檢測的接口。使燃氣表檢定臺的氣路結構大為簡化。即節省空間又便于使用和維修。
四 安裝、調試及注意事項
1 鐘罩落座在工作位置后,首先調整地腳螺絲,使液槽與地面垂直。
2 調整導向板軸承與導柱間隙為1- 2mm之間.
3 充灌密封液:鐘罩密封液通常使用低粘度白油,隨著密封液充入,量筒會慢慢升起,當量筒升起1/3左右時,可以通過增減配重砣,調整量筒內壓力。根據檢定臺的表位數的差異,通常在1.5 -- 3 kPa 左右,
4 沖灌密封油過程中,可控制測壓口適量排氣,使量筒上升不要太高,保持在中間位置即可。觀察液位計窗口,密封液的液位上升至距離外筒上沿6 – 10 厘米即可停止加液。使用中應適時補充保持上述液位。
5 智能鐘罩控制儀與鐘罩標準器及燃氣表檢定臺的相關部件,需做相應的電氣路聯結,開機前應檢查各部聯接是否正確。
鐘罩量筒的上限位點并排裝有兩個開關。接黑色線纜的常開觸點是發訊開關,當鐘罩量筒升至上止點時,其信號用于控制關斷風機和電磁閥。
接白色線纜的常閉觸點是限位開關,只有量筒繼續上升時,它才強制斷開風機和電磁閥的供電,起二次保險到作用。
6 限位開關白色線纜、風機、進氣電磁閥、排氣電磁閥接有220V 交流電源,調整其位置或接線時應關斷電源確保安全。
7 控制儀機箱的接線插頭座和內部線路板上的變壓器及可控硅組件單元接有220V 交流電。通常不要觸及,必要檢查和操作時,必須注意安全。
8 首次使用或停用一段時間后,設備在投入自動運行之前,應先檢查鐘罩上的限位開關是否正常:按面板上的手動進氣鍵使量筒上升,當限位開關被觸發時應能切斷電源停止上升。(進氣、排氣鍵是手動操作鍵,只限于檢修和調試時使用)
五 運行操作
特別提示1 帶有智能附加裝置的燃氣表,如預付費IC卡燃氣表,必須先安裝電池、插卡解鎖,打開表內控制閥后,才能進行檢測操作,檢定過程中如因預付費耗盡,表內控制閥關閉,則需重新插卡解鎖。
特別提示2 如果一臺鐘罩控制儀 ,控制大小兩個鐘罩則:預置的H1、H2 H3為大鐘罩的排氣量; H4、H5為小鐘罩排氣量。
1 通電開機后,控制儀首選預置的第一排氣量H1 ,按 容積 鍵即可在預置H1—H5
選擇所需要的排氣量。
2 按運行鍵,打開風機和進氣閥向量筒充氣,其升到上止點后自動關閉進氣閥和風機。
3 經過設定的時間鐘罩量筒平穩后,自動打開排氣電磁閥,對被校表進行排氣。
4 在排氣期間按 顯示 鍵,可使智能控制儀顯示壓力損失、瞬時流量L、及相關壓力、溫度等測量值。
5 排氣量達到設定值后,自動關閉排氣電磁閥,并顯示實際排氣量 。
6 當鐘罩內余氣能夠滿足所設定的排氣量不需提升鐘罩時,只按 啟動 鍵即可重復上2-3的過程。
7 膜式燃氣表的壓力損失按照國家標準和檢定規程,應為檢測最大流量過程中最大壓損和最小壓損的平均值, 控制儀自動檢測出最大值和最小值,并計算確定:
△P =(△Pmax+△Pmin)/ 2
其中: △Pmax -—壓力損失最大值
△ Pmin -—壓力損失最小值
被校表排氣量 — 標準排氣量

8 誤差計算:被校表示值誤差 = ×100%
標準排氣量
被校表排氣量 = 排氣后讀數—排氣前讀數;
標準排氣量 — 即控制儀所顯示的標準排氣量
六 控制儀參數的設置
參數設置操作
1按 設置 鍵8秒鐘以上,進入設置狀態,面板鍵盤,均處于下擋鍵功能狀態(設置狀態)。其功能如下:
2 設置 —— 單擊此鍵可依次選定所需設置的參數。
3 數字 —— 閃亮位數字加1 。

4 —— 閃亮位向右移動一位。
5 —— 可在閃亮位選定或放棄小數點。
6 確認 —— 對所有參數設置予以確認。控制儀返回正常測量狀態
鐘罩 控 制 儀 參 數 設 置 表
|
標 志 |
含 意 |
單 位 |
本儀表置數 |
|
L1 |
提示符;無需置數 |
|
|
|
P1 |
測點一量程上限 (可檢測壓力、壓損、溫度、等) |
kPa ℃ |
|
|
P2 |
測點二量程上限 (可檢測壓力、壓損、溫度、等) |
kPa ℃ |
|
|
P3 |
測點三量程上限 (可檢測壓力、壓損、溫度、等) |
kPa ℃ |
|
|
P4 |
測點四量程上限 (可檢測壓力、壓損、溫度、等) |
kPa ℃ |
|
|
k1 |
大鐘罩綜合容積系數 |
L/mm |
|
|
K2 |
小鐘罩綜合容積系數 |
L/mm |
|
|
PR |
使用地區大氣壓力(有溫壓補償時用) |
MPa |
|
|
H1 |
第一排氣量 |
L |
|
|
H2 |
第二排氣量 |
L |
|
|
H3 |
第三排氣量 |
L |
|
|
H4 |
第四排氣量 |
L |
|
|
H5 |
第五排氣量 |
L |
|
|
Uo |
鐘罩穩定延遲時間 |
S |
|
|
Pr |
|
|
|
七 綜合容積系數k的整定
鐘罩(不含智能控制儀)要定期報送技術監督局計量檢定部門檢定,并給出檢定結果 即:鐘罩排出額定容積氣體V(升)時所對應的鐘罩降落高度H(mm)。這是鐘罩作為標準器具使用的基準依據。同時還給出鐘罩基準容積系數Ko = V / H (L/mm) ,其代表了鐘罩每降落1mm對應的排氣量。
計量檢定部門給出的鐘罩容積系數Ko ,只是鐘罩自身的容積系數 。 配套鐘罩控制系統后,則是通過旋轉編碼器、以及與其同軸的導輪,來檢測鐘罩量筒的降落高度的。由于導輪直徑存在加工誤差,應當進行系統整定,在鐘罩容積系數Ko的基礎上,確定綜合容積系數k :
整定步驟:
1 先按鐘罩控制儀參數表,將鐘罩基準容積系數 Ko設置為綜合容積系數 k的初始值k’
2 設置排氣量為鐘罩額定容積V
3 運行鐘罩,排出額定容積V的氣體,測量排氣前后量筒實際降落高度h
以上過程應重復數次, 取h的平均值。
4 計算 ( h – H )/ H 若超出允許誤差的1/3 ,則需對k 進行修正。
修正后的 k = ( h / H ) k’
5 重新設置綜合容積系數k
八 壓損檢測單元的校正(標定)
(一)零位的校正
檢定臺通電預熱15分鐘后,即可進行。
1 零位校正必須在四個臺位的氣缸均處于松開狀態,燃氣表壓損為零下進行。
2 長按 時間 鍵6秒鐘以上 ,然后雙擊 確認 認鍵;四個臺位顯示壓損即可回零。
(二)量程的校正
1 四個臺位的氣缸均處于松開狀態,利用多通測試接頭給四路壓損傳感器的 正壓口( 即四路壓損接口的下一排 ) 同時加入500 Pa測試壓力
2 長按 打印 鍵 8秒鐘以上松開按鍵,再單擊 確認 鍵
此時四臺位的壓損顯示均為500 Pa 完成量程校正。
九 維護保養與使用注意事項
1 發訊、限位觸板應對準發訊、限位開關。 量筒升到上限位點時,接黑色線纜的發訊開關先被觸發,使控制儀關斷風機和電磁閥,停止量筒上升。如果發生隔離液外溢,此時應立即斷電,檢查是否隔離液面過低或者觸發開關跑偏移位,并相應進行處理。
2 連接編碼器和量筒的絲帶,應在編碼器導輪的中間運行,不得爬行到兩側邦壁,否則影響測量結果。
3 定期檢查鐘罩連接管路及閥門、夾表工裝,及時更換各接口的密封圈,不得有漏氣。
4 進氣側球閥不要開的過大,否則容易造成量筒上升的過沖。
5 報請計量部門對鐘罩標準器進行檢定時,應在手動狀態下進行。使用控制儀面板上的手動進氣、排氣按鍵控制鐘罩升降操作。
天津市新聯儀表設備有限公司
地址:天津市北辰區王秦莊工業區 郵編 300400
電話:13001379761 022—86872236 86872235